


Материалы
Модели светильника
Односторонние
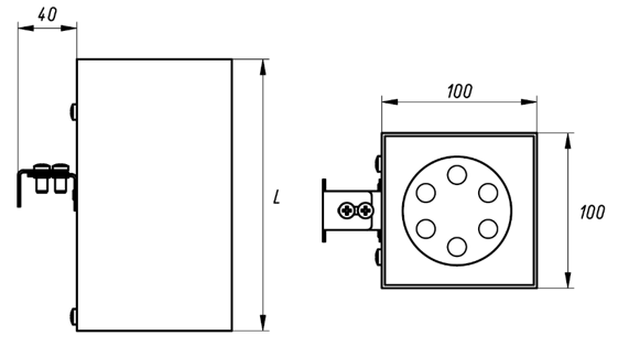
Наименование | P, Вт | Вес, кг | L, мм |
ДБУ47-8-УЦ Экспо | 8 | 1,3 | 190 |
ДБУ47-16-УЦ Экспо | 16 | 1,3 | 190 |
Двусторонние
Наименование | P, Вт | Вес, кг | L, мм |
ДБУ47-2х8-УЦ Экспо | 2х8 | 1,5 | 220 |
ДБУ47-2х16-УЦ Экспо | 2х16 | 1,5 | 220 |
У – угол рассеивания света
Ц – цвет свечения

Адаптация к проекту
Дополнительно
